Product Summary
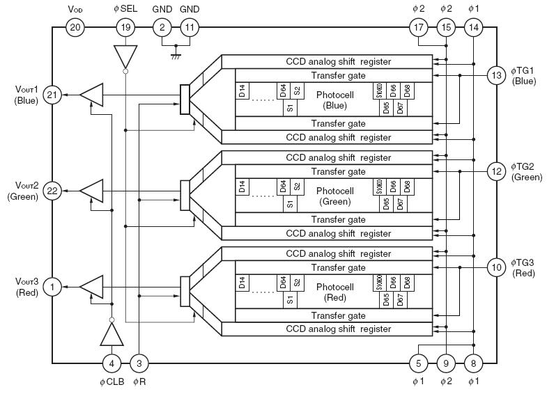
The D8873CY is a color CCD (Charge Coupled Device) linear image sensor which changes optical images to electrical signal and has the function of color separation. The D8873CY has 3 rows of (5400 + 5400) staggered pixels, and each row has a dual-sided readout-type charge transfer register. And the D8873CY has reset feed-through level clamp circuits and voltage amplifiers. Therefore, it is suitable for 1200 dpi/A4 color image scanners, color facsimiles and so on.
Parametrics
D8873CY absolute maximum ratings: (1)Output drain voltage: -0.3 to +15 V; (2)Shift register clock voltage: -0.3 to +8 V; (3)Reset gate clock voltage: -0.3 to +8 V; (4)Reset feed-through level clamp clock voltage: -0.3 to +8 V; (5)dpi select signal voltage: -0.3 to +8 V; (6)Transfer gate clock voltage: -0.3 to +8 V; (7)Operating ambient temperature Note TA: 0 to +60℃; (8)Storage temperature Tstg: -40 to +70℃.
Features
D8873CY features: (1)Valid photocell : (5400 + 5400) staggered pixelsx3; (2)Photocell pitch : 5.25μm; (3)Line spacing : 63μm (12 lines) Red line - Green line, Green line - Blue line 10.5μm (2 lines) Odd line - Even line (for each color); (4)Color filter : Primary colors (red, green and blue), pigment filter; (5)Resolution : 48 dot/mm A4 (210x297 mm) size (shorter side); (6)Drive clock level : CMOS output under 5 V operation; (7)Data rate : 12.5 MHz Max.; (8)Power supply : +12 V; (9)On-chip circuits : Reset feed-through level clamp circuits Voltage amplifiers.
Diagrams

(China (Mainland))






