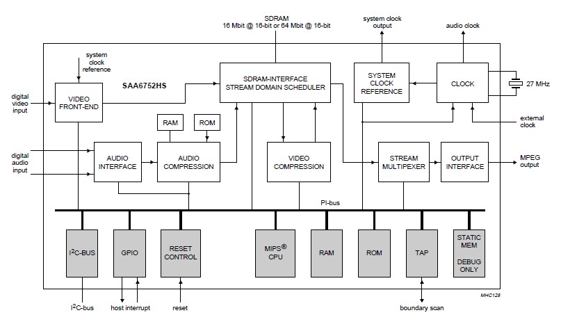
Product Summary
The SAA6752HS/104 is a MPEG-2 video and MPEG-audio/AC-3 audio encoder with multiplexer. The SAA6752HS/104 will also enable a key driver for new consumer digital recording applications and system cost reduction. By integrating all audio encoding and multiplexing functionality we will be moving from a three chip to a one chip system, with cost efficient design and process technology, thus providing a truly low cost, high quality encoding system. The SAA6752HS/104 is intended for customers whose application does not require the DDCE function.
Parametrics
SAA6752HS/104 absolute maximum ratings: (1)VDDP digital supply voltage for pads: -0.5 to +4.0 V; (2)VDDCO digital supply voltage for core: -0.5 to +2.8 V; (3)VDDA analog supply voltage: -0.5 to +2.8 V; (4)VI digital input voltage: -0.5 to +4.0 V; (5)Vi analog input voltage: -0.5 to +2.8 V; (6)VO digital output voltage: -0.5 to VDDP + 0.5 V; (7)Isc short-circuit current of output pads: 125 mA; (8)Ilu(prot) latch-up protection current: 100 mA; (9)Ptot total power dissipation: 2 W; (10)Tstg storage temperature: -25 to +125 ℃; (11)Tamb ambient temperature: 0 to 70 ℃; (12)Ves electrostatic handling voltage: -2000 to +2000 V.
Features
SAA6752HS/104 features: (1)Real-time MPEG-2 encoding compliant to Main Profile at Main Level (MP@ML) for 625 and 525 interlaced line systems; (2)Supported resolutions: D1, 2/3D1, 1/2D1 and SIF; (3)IPB frame, IP frame and I frame only encoding supported at all modes; (4)Supported bit rates: up to 25 Mbit/s I-only encoding; up to 15 Mbit/s IP-only or IBP encoding.; (5)Variable video bit rate mode for constant picture quality and constant bit rate mode to gain optimum picture quality from a fixed channel transfer rate; (6)Access to bit rate control parameters whilst encoding to support external real-time control algorithms (e.g.constrained variable bit rate control); (7)Programmable Group Of Pictures (GOP) structure; (8)Innovative motion estimation with wide search range; (9)Adaptive quantization; (10)Motion compensated noise filter.
Diagrams

![]() |
![]() SAA6579 |
![]() Other |
![]() |
![]() Data Sheet |
![]() Negotiable |
|
||||
![]() |
![]() SAA6579/V1,112 |
![]() NXP Semiconductors |
![]() Modulator / Demodulator RADIO DATA SYSTEMS |
![]() Data Sheet |
![]() Negotiable |
|
||||
![]() |
![]() SAA6579TD |
![]() NXP Semiconductors |
![]() Audio Amplifiers RADIO DATA SYSTEMS DEMODULATOR |
![]() Data Sheet |
![]() Negotiable |
|
||||
![]() |
![]() SAA6581T/V1,512 |
![]() |
![]() IC DEMODULATOR RDS/RBDS 16SOIC |
![]() Data Sheet |
![]() Negotiable |
|
||||
![]() |
![]() SAA6588TD-T |
![]() NXP Semiconductors |
![]() RF Wireless Misc RDS PREPROCESSOR |
![]() Data Sheet |
![]() Negotiable |
|
||||
![]() |
![]() SAA6588TD |
![]() NXP Semiconductors |
![]() RF Wireless Misc RDS/RBDS PRE-PROCESSOR |
![]() Data Sheet |
![]() Negotiable |
|
||||
(China (Mainland))










